- Übersicht
- Technische Daten
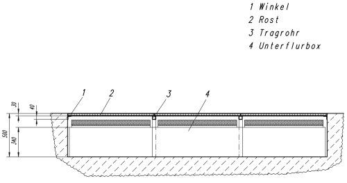
- Technische Zeichnung
- Prospekt PDF
IPE-Unterflur-Absaugsystem TUF mit Doppelfiltrations-System
Unterflursystem mit Labyrinthfilter als Vorfilter und Glasfaserfiltermatten als Nachfiltereinheit.
IPE Unterflurboxen TUF (Trocken-Unterflur-Farbnebelabsaugbox) sind für den modularen Einbau in Bodengruben zur Farbnebelabsaugung vorgesehen. Durch das Baukastensystem sind sie beliebig kombinierbar und jederzeit erweiterbar!
Für die Oversprayabsaugung sowie Be- und Entlüftung des Lackierraumes ist die Unterflurabsaugung und die Zuluftführung von oben die wirkungsvollste Methode zur Erzielung eines hochwertigen Lackierergebnisses
Die Abbildung zeigt eine Unterflurabsaugung mit Bodenrostebene und Zuluft-Filterdecke mit integrierten Ex-Leuchten.
Die Unterflurboxen TUF benötigen lediglich eine Bodengrubentiefe von 50 cm.

Optionen und Zubehör:
- zweistufiger oder stufenlos regelbarer Antrieb
- exgeschützte Ventilatoren
- Schaltschrank mit Trocknungszeitmodul
- Zuluftanlagen
- Ex-Leuchten
- Deflektorhauben
- Schalldämpfer
- Abluftrohrleitungen
- Trocknungszonenabsaugung
Kontakt
Wir beraten Sie gerne!
Kontakt aufnehmen ...
| Unterflurbox TUF Länge 2 m | TUF 2000 S 2x1m | TUF 2000 M 2x1m | TUF 2000 E 2x1m |
|---|---|---|---|
| Artikel-Nr. | 600065 | 600066 | 600067 |
| benötigte Absaugleistung m³/h | 2500 - 3500 | 2500 - 3500 | 2500 - 3500 |
| Ansaugfläche in m² | 1,8 | 1,8 | 1,8 |
| Länge in mm | 1960 | 1960 | 1960 |
| Gesamthöhe in mm | 425 | 425 | 425 |
| Breite in mm | 960 | 1040 | 1000 |
| Gewicht in kg | 48 | 54 | 52 |
| Unterflurbox TUF Länge 2,5 m | TUF 2500 S 2,5x1m | TUF 2500 M 2,5x1m | TUF 2500 E 2,5x1m |
|---|---|---|---|
| Artikel-Nr. | 600074 | 600075 | 600076 |
| benötigte Absaugleistung m³/h | 3500 - 5000 | 3500 - 5000 | 3500 - 5000 |
| Ansaugfläche in m² | 2,3 | 2,3 | 2,3 |
| Länge in mm | 2460 | 2460 | 2460 |
| Gesamthöhe in mm | 425 | 425 | 425 |
| Breite in mm | 960 | 1040 | 1000 |
| Gewicht in kg | 60 | 67 | 70 |
| Unterflurbox TUF Länge 3 m | TUF 3000 S 3x1m | TUF 3000 M 3x1m | TUF 3000 E 3x1m |
|---|---|---|---|
| Artikel-Nr. | 600077 | 600078 | 600079 |
| benötigte Absaugleistung m³/h | 4000 - 6000 | 4000 - 6000 | 4000 - 6000 |
| Ansaugfläche in m² | 2,8 | 2,8 | 2,8 |
| Länge in mm | 2960 | 2960 | 2960 |
| Gesamthöhe in mm | 425 | 425 | 425 |
| Breite in mm | 960 | 1040 | 1000 |
| Gewicht in kg | 74 | 79 | 84 |
Technische Darstellung Unterflurbox TUF